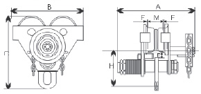
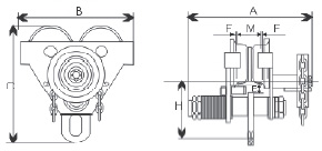
Trolley (carriage) for manual chain hoist Gutman, type KML

connect with us:
| Model | Cacacity | size a | size B | size C | size H | Net weight | Adjustable beam weadth |
|---|---|---|---|---|---|---|---|
| kg | mm | mm | mm | mm | kg | mm | |
| 1000 kg | 390 | 260 | 239 | 135 | 17.5 | 64-205 | |
| 2000 kg | 405 | 300 | 286 | 161 | 25.5 | 88-203 | |
| 3000 kg | 438 | 345 | 336 | 185 | 45.0 | 102-203 | |
| 5000 kg | 450 | 390 | 393 | 220 | 57.0 | 114-203 |



