logo

(050) 381-52-70

info@gutman.com.ua

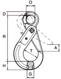
Àâòîáëîêèðóþùèé êðþê Gutman, òèï BKHG

ÍàèìåíîâàíèåÄèàìåòð ñå÷åíèÿ öåïèADORTGHÂåñÃ/ï
ììììììììììììììììêãêã
BKHG662811211103516200.51 120
BKHG 7-87-83412271364320260.92 000
BKHG 1010451534.51695625301.53 150
BKHG 13135220402056934402.75 300
BKHG 16166027502518035505.78 000