Візок (каретка) для ручної ланцюгової талі Gutman, тип KML/HTG/ATG

Застосування: має широку сферу застосування. Дозволяє прикріплення різної гами вантажопідіймальних пристроїв.

Контакт для оперативного замовлення:

Ірина Лещьотна

+38 (095) 278-75-77 (приймальня)

irina@gutman.com.ua

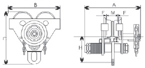
НайменуванняВантажопідйомністьРозмір AРозмір BРозмір CРозмір HВагаШирина полиці монорейкової колії (M)
кгммммммммкгмм
Візок для талі ручні ланцюгові Gutman KML/HTG/ATG -10001000 kg39026023913517.564-205
Візок для талі ручні ланцюгові Gutman KML/HTG/ATG-20002000 kg40530028616125.588-203
Візок для талі ручні ланцюгові Gutman KML/HTG/ATG-30003000 kg43834533618545.0102-203
Візок для талі ручні ланцюгові Gutman KML/HTG/ATG-50005000 kg45039039322057.0114-203

Опис: головні деталі виготовлені з високоміцного сталевого сплаву.

Каретки для ручних талів (пересувний візок або кішка) є спеціальним пристроєм для переміщення вантажу, піднятого за допомогою талів з невеликими швидкостями транспортування вантажів. Візки для ручних талів підвішуються до балки або монорейкового шляху. Внаслідок чого можливе горизонтальне переміщення вантажу з використанням ручного ланцюгового приводу.

Керувати конструкцією можна з підлоги. Візок ручних талів має регулювання для встановлення його на балки різноманітного профілю. Візок для талі надійний і досить простий в експлуатації. Каретки для ручних ланцюгових талей відповідають високим вимогам користувача. Це якість, ефективність та безумовно безпека.

 

ТД "Гутман" пропонує купити візок (каретку) для ручних ланцюгових талей з різною вантажопідйомністю.

Таль є вантажопідйомною конструкцією, розрахованою для безпечного підйому, спуску і горизонтального пересування різних вантажів по монорейковому шляху. А також утримання вантажу у піднятому стані. Залежно від структури, таль може бути з ручним та електричним приводом.

Існують ланцюгові шестерні та ручні важільні талі. Таль ручний ланцюговий має спеціальний вантажний ланцюг, який служить для підвішування та переміщення вантажу на ньому. Якщо підвісити ручну ланцюгову таль над опорною поверхнею, де розміщується вантаж, то можна керувати роботою талі із землі, використовуючи приводний (керуючий) ланцюг.

Для здійснення можливості переміщення вантажу горизонтально, а також вертикально талі підвішують на спеціальні каретки для талей. Каретки для ручних талей сприяють переміщенню ручної талі по двотаврових балках. Каретка для ручної талі має ланцюговий привід. Це означає, що приклавши ручну силу, ланцюг перебирається так, щоб таль з кареткою піднімав або опускав вантаж. Таким чином, візок для ручної талі, на якій він підвішений, дає можливість легко піднімати та переміщати вантаж уздовж монорейкової колії.